沼津高専 電子制御工学科
マウス取り付け機構製造仕様書
MIRS0704-MECH-0003
改定記録
版数 作成日 作成者 承認 改訂内容
A01 2007.09.18 杉山博軌/河野 杉山裕太 初版
B01 2007.11.30 石川 杉山裕太 マウスの変更に伴った仕様の変更

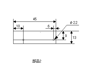
 マウス取り付け機構を以下のように製造する。

まず、それぞれの部品を帯のこ盤を用いて寸法通りに切り出す。
部品1は1mm、部品2は3mmのアクリル板を用いる。

次に部品1と部品2を接着剤で接着し、卓上ボール板で穴あけをする。
番号 品名/ドキュメント名 E/C 数量 単位 備考
1 アクリル板(1mm) E 1
2 アクリル板(3mm) E 1






関連文書
  • マウス取り付け機構取り付け説明書(MIRS0704-MECH-0004)