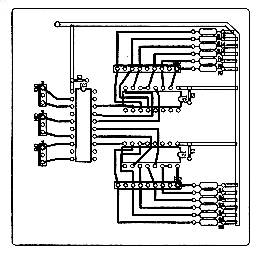
タッチセンサドライバ回路のパターン図(実際の大きさの2倍である。)



Back